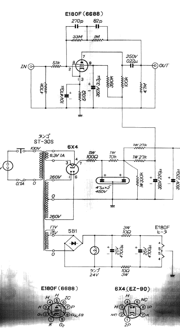
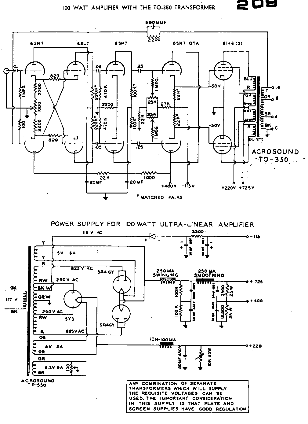
Valve equipment to build your self
Please Click the Diagram you would like to view.
These are diagrams of valve amps, some I've built, some I've not...Some are mine, others have been found in the internet, and I just put them on here, for anyone who wants to make something. .
